Пальцевой привод
Данный раздел/документ содержится в продуктах:
- Техэксперт: Нормы, правила, стандарты и законодательство России
- Техэксперт: Нефтегазовый комплекс
- Техэксперт: Машиностроительный комплекс
ПАЛЬЦЕВОЙ ПРИВОД
(finger drive)
Тип ступенчатого механизма преодоления, в котором нижний исполнительный механизм закрепляется на устройстве для преодоления лестниц, а верхний исполнительный механизм подвижен относительно устройства для преодоления лестниц.
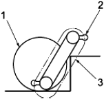
Примечание - Пальцевой привод известен, где нижним исполнительным механизмом является колесо, а верхним исполнительным механизмом является палец. Самая нижняя точка пальца двигается вдоль овальной траектории. Каждый исполнительный механизм выполняет свою функцию как нижний или верхний исполнительный механизм. См. рисунок 4.

1 - нижний исполнительный механизм (колесо); 2 - верхний исполнительный механизм (палец); 3 - траектория самой нижней точки пальца относительно механизма преодоления



