Внешний впускной воздушный поток
Список продуктов
Данный раздел/документ содержится в продуктах:
Данный раздел/документ содержится в продуктах:
- Техэксперт: Нормы, правила, стандарты и законодательство России
- Техэксперт: Нефтегазовый комплекс
- Техэксперт: Машиностроительный комплекс
- Техэксперт: Электроэнергетика
- Техэксперт: Теплоэнергетика
- Стройэксперт. "Вариант Лидер"
- Техэксперт: Эксплуатация зданий
- Стройтехнолог
ВНЕШНИЙ ВПУСКНОЙ ВОЗДУШНЫЙ ПОТОК
(intake outdoor airflow)
Поток воздуха в оборудование с наружной стороны.
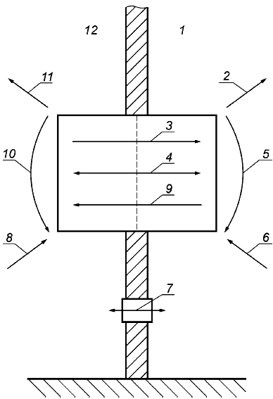
Примечание - См. рисунок 1.
1 - наружная сторона; 2 - выпуск наружу; 3 - выпускной канал; 4 - утечка; 5 - возврат выпущенного воздуха; 6 - забор наружного воздуха; 7 - отверстие выравнивания; 8 - забор внутреннего воздуха; 9 - вентиляция; 10 - частичный выпуск кондиционированного воздуха; 11 - впуск кондиционированного воздуха внутрь; 12 - внутренняя сторона
Рисунок 1 - Схема, иллюстрирующая воздушные потоки к определениям, приведенным в 3.4-3.13



