0 продуктов

Авторизация

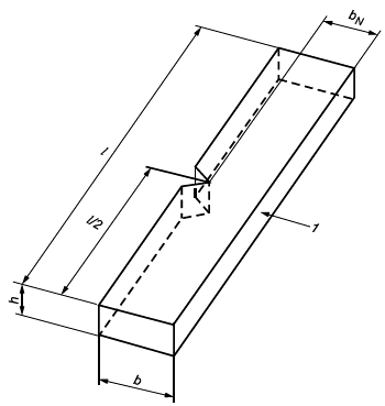
Удар в ребро (параллельно ширине образца)

Список продуктов
Данный раздел/документ содержится в продуктах:


УДАР В РЕБРО (ПАРАЛЛЕЛЬНО ШИРИНЕ ОБРАЗЦА)

Е: 

Направление удара параллельно размеру b, с ударом по узкой продольной поверхности образца hl (см. рисунки 1 и 3).     


1 - направление удара

Рисунок 1 - Удар по Шарпи в ребро е образца с надрезом



1 - направление удара

Рисунок 3 - Схема обозначений, описывающих направление удара

"ГОСТ 4647-2015 Пластмассы. Метод определения ударной вязкости по Шарпи" от 20.11.2015 г.

Категории продуктов

 

 

 

Знакомьтесь, "Техэксперт"

 Техэксперт для iPad

 Для Android

АКЦИЯ!

Бесплатный доступ