
Вы нашли документ, содержащийся в электронной базе документов - "ТЕХЭКСПЕРТ"!
Поправка к ГОСТ 32866-2014 Дороги автомобильные общего пользования. Световозвращатели дорожные. Технические требования
Список продуктов
Данный раздел/документ содержится в продуктах:
Данный раздел/документ содержится в продуктах:
- Авиатор
- Законодательство России
- О введении в действие межгосударственного стандарта
- О внесении изменений в приказ Минтранса России от 1 ноября 2007 года N 157
- Законодательство России
- Техэксперт: Эксплуатация зданий
- Законодательство России
- О введении в действие межгосударственного стандарта
- О внесении изменений в приказ Минтранса России от 1 ноября 2007 года N 157
- Законодательство России
- Техэксперт: Экология. Проф
- Законодательство России
- О введении в действие межгосударственного стандарта
- О внесении изменений в приказ Минтранса России от 1 ноября 2007 года N 157
- Законодательство России
- Техэксперт: Нормы, правила, стандарты и законодательство России
- Всё законодательство России
- О внесении изменений в приказ Минтранса России от 1 ноября 2007 года N 157
- О введении в действие межгосударственного стандарта
- Нормы, правила, стандарты и законодательство по техническому регулированию
- Все нормы, правила, стандарты
- Всё законодательство России
- Техэксперт: Нефтегазовый комплекс
- Всё законодательство России
- О внесении изменений в приказ Минтранса России от 1 ноября 2007 года N 157
- О введении в действие межгосударственного стандарта
- Все нормы, правила, стандарты
- Всё законодательство России
- Стройэксперт. "Вариант Лидер"
- Техэксперт: Машиностроительный комплекс
- Техэксперт: Дорожное строительство
- Техэксперт: Помощник Проектировщика
ПОПРАВКА к ГОСТ 32866-2014
Дороги автомобильные общего пользования
СВЕТОВОЗВРАЩАТЕЛИ ДОРОЖНЫЕ
Технические требования
МКС 93.080.30
В каком месте |
Напечатано |
Должно быть |
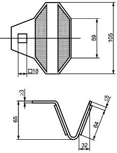
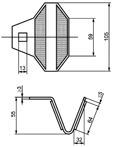
Приложение Б. Рисунок Б.5 (1) |
|
|
Приложение Б. Рисунок Б.5 (2) |
13 |
18 |
Скачать документ нельзя - можно заказать Бесплатно! 1 документ
Документ будет отправлен на указанный Вами e-mail в течение 3 рабочих дней*
Часы работы: с Пн по Пт с 8:30 до 17:30 по московскому времени.
или
Посмотреть возможности крупнейшей электронной библиотеки "Техэксперт" - более 8 000 000 документов!
Подписка на полную версию «Указателя стандартов» через ФГУП «Стандартинформ» стоит 20 000 рублей.
При заказе демонстрации Вы получите доступ к его электронной версии совершенно бесплатно!




