
Вы нашли документ, содержащийся в электронной базе документов - "ТЕХЭКСПЕРТ"!
Изменение N 1 ГОСТ 26338-84 Соединения трубопроводов резьбовые. Допуски формы и расположения поверхностей
Данный раздел/документ содержится в продуктах:
- Техэксперт: Нефтегазовый комплекс
- Нормы, правила, стандарты по нефтегазовому комплексу
- Все нормы, правила, стандарты
- Всё законодательство России
- Техэксперт: Нормы, правила, стандарты и законодательство России
- Нормы, правила, стандарты и законодательство по техническому регулированию
- Все нормы, правила, стандарты
- Архив
- Всё законодательство России
- Техэксперт: Машиностроительный комплекс
- Нормы, правила, стандарты и законодательство по техническому регулированию
- Нормы, правила, стандарты в машиностроении
- Техэксперт: Теплоэнергетика
- Стройэксперт. "Вариант Лидер"
- Техэксперт: Помощник Проектировщика
- Авиатор
- Техэксперт: Эксплуатация зданий
- Техэксперт: Экология. Проф
Группа Г18
ИЗМЕНЕНИЕ N 1
ГОСТ 26338-84 "Соединения трубопроводов резьбовые. Допуски формы и расположения поверхностей"
Дата введения 1991-07-01
УТВЕРЖДЕНО И ВВЕДЕНО В ДЕЙСТВИЕ Постановлением Государственного комитета СССР по управлению качеством продукции и стандартам от 26.12.90 N 3314
Пункт 1. Второй абзац изложить в новой редакции: "Требования настоящего стандарта являются обязательными".
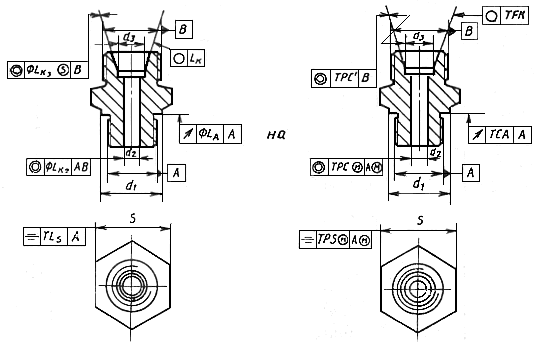
Пункт 2. Таблица. Графа "Детали резьбовых соединений трубопроводов". Заменить чертежи:
Скачать документ нельзя - можно заказать Бесплатно! 1 документ
Документ будет отправлен на указанный Вами e-mail в течение 3 рабочих дней*
Часы работы: с Пн по Пт с 8:30 до 17:30 по московскому времени.
или
Посмотреть возможности крупнейшей электронной библиотеки "Техэксперт" - более 8 000 000 документов!



