
Вы нашли документ, содержащийся в электронной базе документов - "ТЕХЭКСПЕРТ"!
Изменение N 3 ОСТ 108.275.53-80 Блоки хомутовые для подвесок трубопроводов АЭС. Конструкция и размеры
Данный раздел/документ содержится в продуктах:
- Техэксперт: Машиностроительный комплекс
- Нормы, правила, стандарты в машиностроении
- ГОСТ 8509-72 (СТ СЭВ 104-74) Сталь прокатная угловая равнополочная. Сортамент (с Изменениями N 1, 2)
- ОСТ 108.275.53-80 Блоки хомутовые для подвесок трубопроводов АЭС. Конструкция и размеры (с Изменениями N 1-3)
- ОСТ 108.382.01-80 Полухомуты для хомутовых блоков подвесок трубопроводов ТЭС и АЭС. Конструкция и размеры (с Изменениями N 1-3)
- ОСТ 108.275.51-80 Сборочные единицы и детали подвесок трубопроводов ТЭС и АЭС. Типы, основные параметры и размеры (с Изменениями N 1-3)
- Нормы, правила, стандарты и законодательство по техническому регулированию
- ОСТ 108.275.53-80 Блоки хомутовые для подвесок трубопроводов АЭС. Конструкция и размеры (с Изменениями N 1-3)
- ОСТ 108.382.01-80 Полухомуты для хомутовых блоков подвесок трубопроводов ТЭС и АЭС. Конструкция и размеры (с Изменениями N 1-3)
- ОСТ 108.275.51-80 Сборочные единицы и детали подвесок трубопроводов ТЭС и АЭС. Типы, основные параметры и размеры (с Изменениями N 1-3)
- Нормы, правила, стандарты в машиностроении
- Техэксперт: Нормы, правила, стандарты и законодательство России
- Нормы, правила, стандарты и законодательство по техническому регулированию
- ОСТ 108.275.53-80 Блоки хомутовые для подвесок трубопроводов АЭС. Конструкция и размеры (с Изменениями N 1-3)
- ОСТ 108.382.01-80 Полухомуты для хомутовых блоков подвесок трубопроводов ТЭС и АЭС. Конструкция и размеры (с Изменениями N 1-3)
- ОСТ 108.275.51-80 Сборочные единицы и детали подвесок трубопроводов ТЭС и АЭС. Типы, основные параметры и размеры (с Изменениями N 1-3)
- Все нормы, правила, стандарты
- ОСТ 108.275.53-80 Блоки хомутовые для подвесок трубопроводов АЭС. Конструкция и размеры (с Изменениями N 1-3)
- ОСТ 108.382.01-80 Полухомуты для хомутовых блоков подвесок трубопроводов ТЭС и АЭС. Конструкция и размеры (с Изменениями N 1-3)
- ОСТ 108.275.51-80 Сборочные единицы и детали подвесок трубопроводов ТЭС и АЭС. Типы, основные параметры и размеры (с Изменениями N 1-3)
- Нормы, правила, стандарты и законодательство по техническому регулированию
- Техэксперт: Нефтегазовый комплекс
- Все нормы, правила, стандарты
- ОСТ 108.275.53-80 Блоки хомутовые для подвесок трубопроводов АЭС. Конструкция и размеры (с Изменениями N 1-3)
- ОСТ 108.382.01-80 Полухомуты для хомутовых блоков подвесок трубопроводов ТЭС и АЭС. Конструкция и размеры (с Изменениями N 1-3)
- ОСТ 108.275.51-80 Сборочные единицы и детали подвесок трубопроводов ТЭС и АЭС. Типы, основные параметры и размеры (с Изменениями N 1-3)
- Все нормы, правила, стандарты
- Техэксперт: Электроэнергетика
- Нормы, правила, стандарты в электроэнергетике
- ОСТ 108.275.53-80 Блоки хомутовые для подвесок трубопроводов АЭС. Конструкция и размеры (с Изменениями N 1-3)
- ОСТ 108.382.01-80 Полухомуты для хомутовых блоков подвесок трубопроводов ТЭС и АЭС. Конструкция и размеры (с Изменениями N 1-3)
- ОСТ 108.275.51-80 Сборочные единицы и детали подвесок трубопроводов ТЭС и АЭС. Типы, основные параметры и размеры (с Изменениями N 1-3)
- Нормы, правила, стандарты в электроэнергетике
- Техэксперт: Теплоэнергетика
- Нормы, правила, стандарты в теплоэнергетике
Группа Е26
ИЗМЕНЕНИЕ N 3
ОСТ 108.275.53-80 "Блоки хомутовые для подвесок трубопроводов АЭС.
Конструкция и размеры"
ОКП 69 3719
Дата введения 1988-01-01
УТВЕРЖДЕНО И ВВЕДЕНО В ДЕЙСТВИЕ Министерством тяжелого, энергетического и транспортного машиностроения СССР от 03.11.87 N ВА-002-1/3025
На первой странице стандарта заменить слова: "срок введения установлен с 01.01.85" на "срок действия установлен с 01.01.85 до 01.01.93".
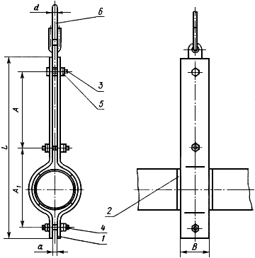
Пункт 2. Чертеж заменить новым; таблицу изложить в новой редакции.
Размеры в мм
Скачать документ нельзя - можно заказать Бесплатно! 1 документ
Документ будет отправлен на указанный Вами e-mail в течение 3 рабочих дней*
Часы работы: с Пн по Пт с 8:30 до 17:30 по московскому времени.
или
Посмотреть возможности крупнейшей электронной библиотеки "Техэксперт" - более 8 000 000 документов!



