
Вы нашли документ, содержащийся в электронной базе документов - "ТЕХЭКСПЕРТ"!
Изменение N 2 ГОСТ 19933-74 Блоки универсальные пресс-форм литья под давлением. Конструкция и размеры
Данный раздел/документ содержится в продуктах:
- Техэксперт: Нефтегазовый комплекс
- Нормы, правила, стандарты по нефтегазовому комплексу
- Все нормы, правила, стандарты
- ГОСТ 4751-73 Рым-болты. Технические условия (с Изменениями N 1, 2, 3, 4)
- ГОСТ 12.4.087-84 Система стандартов безопасности труда (ССБТ). Строительство. Каски строительные. Технические условия
- ГОСТ 2991-85 Ящики дощатые неразборные для грузов массой до 500 кг. Общие технические условия (с Изменениями N 1, 2)
- Техэксперт: Нормы, правила, стандарты и законодательство России
- Нормы, правила, стандарты и законодательство по техническому регулированию
- ГОСТ 4751-73 Рым-болты. Технические условия (с Изменениями N 1, 2, 3, 4)
- ГОСТ 12.4.087-84 Система стандартов безопасности труда (ССБТ). Строительство. Каски строительные. Технические условия
- ГОСТ 2991-85 Ящики дощатые неразборные для грузов массой до 500 кг. Общие технические условия (с Изменениями N 1, 2)
- Все нормы, правила, стандарты
- ГОСТ 4751-73 Рым-болты. Технические условия (с Изменениями N 1, 2, 3, 4)
- ГОСТ 12.4.087-84 Система стандартов безопасности труда (ССБТ). Строительство. Каски строительные. Технические условия
- ГОСТ 2991-85 Ящики дощатые неразборные для грузов массой до 500 кг. Общие технические условия (с Изменениями N 1, 2)
- Архив
- СанПиН 2.3.4.545-96 Производство хлеба, хлебобулочных и кондитерских изделий
- СНиП 2.04.03-85 Канализация. Наружные сети и сооружения (с Изменением N 1)
- СанПиН 2.3.4.545-96 Производство хлеба, хлебобулочных и кондитерских изделий
- Нормы, правила, стандарты и законодательство по техническому регулированию
- Техэксперт: Машиностроительный комплекс
- Нормы, правила, стандарты и законодательство по техническому регулированию
- ГОСТ 4751-73 Рым-болты. Технические условия (с Изменениями N 1, 2, 3, 4)
- ГОСТ 12.4.087-84 Система стандартов безопасности труда (ССБТ). Строительство. Каски строительные. Технические условия
- ГОСТ 2991-85 Ящики дощатые неразборные для грузов массой до 500 кг. Общие технические условия (с Изменениями N 1, 2)
- Нормы, правила, стандарты в машиностроении
- Нормы, правила, стандарты и законодательство по техническому регулированию
- Техэксперт: Охрана труда
- Нормативные документы по охране труда
- СанПиН 2.3.4.545-96 Производство хлеба, хлебобулочных и кондитерских изделий
- СНиП 2.04.03-85 Канализация. Наружные сети и сооружения (с Изменением N 1)
- ГОСТ 12.4.087-84 Система стандартов безопасности труда (ССБТ). Строительство. Каски строительные. Технические условия
- СанПиН 2.3.4.545-96 Производство хлеба, хлебобулочных и кондитерских изделий
- Нормативные документы по охране труда
- Техэксперт: Экология. Проф
- Система нормативов охраны и рационального использования природных ресурсов
- СанПиН 2.3.4.545-96 Производство хлеба, хлебобулочных и кондитерских изделий
- СНиП 2.04.03-85 Канализация. Наружные сети и сооружения (с Изменением N 1)
- СанПиН 2.3.4.545-96 Производство хлеба, хлебобулочных и кондитерских изделий
- Законодательство России
- Система нормативов охраны и рационального использования природных ресурсов
- Стройэксперт. "Вариант Лидер"
- Строительное производство и проектирование (технические нормы, правила, стандарты)
- СанПиН 2.3.4.545-96 Производство хлеба, хлебобулочных и кондитерских изделий
- СНиП 2.04.03-85 Канализация. Наружные сети и сооружения (с Изменением N 1)
- ГОСТ 12.4.087-84 Система стандартов безопасности труда (ССБТ). Строительство. Каски строительные. Технические условия
- СанПиН 2.3.4.545-96 Производство хлеба, хлебобулочных и кондитерских изделий
- Строительство автомобильных дорог
- Строительное производство и проектирование (технические нормы, правила, стандарты)
- Техэксперт: Помощник Проектировщика
- Строительное производство и проектирование (технические нормы, правила, стандарты)
- СанПиН 2.3.4.545-96 Производство хлеба, хлебобулочных и кондитерских изделий
- СНиП 2.04.03-85 Канализация. Наружные сети и сооружения (с Изменением N 1)
- ГОСТ 12.4.087-84 Система стандартов безопасности труда (ССБТ). Строительство. Каски строительные. Технические условия
- СанПиН 2.3.4.545-96 Производство хлеба, хлебобулочных и кондитерских изделий
- Строительное производство и проектирование (технические нормы, правила, стандарты)
- Авиатор
- Техэксперт: Эксплуатация зданий
- Законодательство России
- Нормы, правила, стандарты в области эксплуатации зданий
- Техэксперт: Дорожное строительство
Группа Г21
Изменение N 2
ГОСТ 19933-74 "Блоки универсальные пресс-форм литья под давлением.
Конструкция и размеры"
Дата введения 1990-01-01
УТВЕРЖДЕНО И ВВЕДЕНО В ДЕЙСТВИЕ Постановлением Государственного комитета СССР по стандартам от 28.03.89 N 806
Под наименованием стандарта проставить код: ОКП 39 6397.
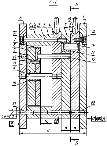
Пункт 1.1 Чертеж 1. Вид Г-Г заменить новым:
Скачать документ нельзя - можно заказать Бесплатно! 1 документ
Документ будет отправлен на указанный Вами e-mail в течение 3 рабочих дней*
Часы работы: с Пн по Пт с 8:30 до 17:30 по московскому времени.
или
Посмотреть возможности крупнейшей электронной библиотеки "Техэксперт" - более 8 000 000 документов!



