
Вы нашли документ, содержащийся в электронной базе документов - "ТЕХЭКСПЕРТ"!
ГОСТ 24537-80 Кожухи оградительные. Конструкция и размеры
Данный раздел/документ содержится в продуктах:
- Техэксперт: Нормы, правила, стандарты и законодательство России
- Нормы, правила, стандарты и законодательство по техническому регулированию
- ГОСТ 13121-83 (СТ СЭВ 3330-81) Штампы для листовой штамповки. Втулки направляющие ступенчатые. Конструкция и размеры
- ГОСТ 23209-78 Блоки универсальных штампов для обрезки облоя у круглых в плане штампованных поковок на кривошипных прессах. Конструкция и размеры (с Изменением N 1)
- ГОСТ 11042-90 Молотки стальные строительные. Технические условия
- ГОСТ 977-88 Отливки стальные. Общие технические условия
- Все нормы, правила, стандарты
- ГОСТ 13121-83 (СТ СЭВ 3330-81) Штампы для листовой штамповки. Втулки направляющие ступенчатые. Конструкция и размеры
- ГОСТ 23209-78 Блоки универсальных штампов для обрезки облоя у круглых в плане штампованных поковок на кривошипных прессах. Конструкция и размеры (с Изменением N 1)
- ГОСТ 11042-90 Молотки стальные строительные. Технические условия
- ГОСТ 977-88 Отливки стальные. Общие технические условия
- Архив
- СанПиН 2.3.4.545-96 Производство хлеба, хлебобулочных и кондитерских изделий
- СНиП 2.04.03-85 Канализация. Наружные сети и сооружения (с Изменением N 1)
- СанПиН 2.3.4.545-96 Производство хлеба, хлебобулочных и кондитерских изделий
- Нормы, правила, стандарты и законодательство по техническому регулированию
- Техэксперт: Машиностроительный комплекс
- Нормы, правила, стандарты и законодательство по техническому регулированию
- ГОСТ 13121-83 (СТ СЭВ 3330-81) Штампы для листовой штамповки. Втулки направляющие ступенчатые. Конструкция и размеры
- ГОСТ 23209-78 Блоки универсальных штампов для обрезки облоя у круглых в плане штампованных поковок на кривошипных прессах. Конструкция и размеры (с Изменением N 1)
- ГОСТ 11042-90 Молотки стальные строительные. Технические условия
- ГОСТ 977-88 Отливки стальные. Общие технические условия
- Нормы, правила, стандарты в машиностроении
- ГОСТ 13121-83 (СТ СЭВ 3330-81) Штампы для листовой штамповки. Втулки направляющие ступенчатые. Конструкция и размеры
- ГОСТ 23209-78 Блоки универсальных штампов для обрезки облоя у круглых в плане штампованных поковок на кривошипных прессах. Конструкция и размеры (с Изменением N 1)
- ГОСТ 11042-90 Молотки стальные строительные. Технические условия
- ГОСТ 977-88 Отливки стальные. Общие технические условия
- Нормы, правила, стандарты и законодательство по техническому регулированию
- Техэксперт: Нефтегазовый комплекс
- Все нормы, правила, стандарты
- ГОСТ 13121-83 (СТ СЭВ 3330-81) Штампы для листовой штамповки. Втулки направляющие ступенчатые. Конструкция и размеры
- ГОСТ 23209-78 Блоки универсальных штампов для обрезки облоя у круглых в плане штампованных поковок на кривошипных прессах. Конструкция и размеры (с Изменением N 1)
- ГОСТ 11042-90 Молотки стальные строительные. Технические условия
- ГОСТ 977-88 Отливки стальные. Общие технические условия
- Нормы, правила, стандарты по нефтегазовому комплексу
- Все нормы, правила, стандарты
- Техэксперт: Охрана труда
- Нормативные документы по охране труда
- СанПиН 2.3.4.545-96 Производство хлеба, хлебобулочных и кондитерских изделий
- СНиП 2.04.03-85 Канализация. Наружные сети и сооружения (с Изменением N 1)
- СанПиН 2.3.4.545-96 Производство хлеба, хлебобулочных и кондитерских изделий
- Нормативные документы по охране труда
- Техэксперт: Экология. Проф
- Система нормативов охраны и рационального использования природных ресурсов
- СанПиН 2.3.4.545-96 Производство хлеба, хлебобулочных и кондитерских изделий
- СНиП 2.04.03-85 Канализация. Наружные сети и сооружения (с Изменением N 1)
- СанПиН 2.3.4.545-96 Производство хлеба, хлебобулочных и кондитерских изделий
- Законодательство России
- Система нормативов охраны и рационального использования природных ресурсов
- Стройэксперт. "Вариант Лидер"
- Строительное производство и проектирование (технические нормы, правила, стандарты)
- СанПиН 2.3.4.545-96 Производство хлеба, хлебобулочных и кондитерских изделий
- СНиП 2.04.03-85 Канализация. Наружные сети и сооружения (с Изменением N 1)
- ГОСТ 11042-90 Молотки стальные строительные. Технические условия
- СанПиН 2.3.4.545-96 Производство хлеба, хлебобулочных и кондитерских изделий
- Строительное производство и проектирование (технические нормы, правила, стандарты)
- Техэксперт: Помощник Проектировщика
- Строительное производство и проектирование (технические нормы, правила, стандарты)
- СанПиН 2.3.4.545-96 Производство хлеба, хлебобулочных и кондитерских изделий
- СНиП 2.04.03-85 Канализация. Наружные сети и сооружения (с Изменением N 1)
- ГОСТ 11042-90 Молотки стальные строительные. Технические условия
- СанПиН 2.3.4.545-96 Производство хлеба, хлебобулочных и кондитерских изделий
- Строительное производство и проектирование (технические нормы, правила, стандарты)
- Авиатор
- Техэксперт: Эксплуатация зданий
- Техэксперт: Теплоэнергетика
- Техэксперт: Электроэнергетика
ГОСТ 24537-80
Группа Г22
ГОСУДАРСТВЕННЫЙ СТАНДАРТ СОЮЗА ССР
КОЖУХИ ОГРАДИТЕЛЬНЫЕ
Конструкция и размеры
Protective housings. Design and dimensions
ОКП 39 6330
Дата введения 1982-01-01
Постановлением Государственного комитета СССР по стандартам от 31 декабря 1980 г. N 6297 срок введения установлен с 01.01.82
Проверен в 1985 г.
ПЕРЕИЗДАНИЕ. Декабрь 1986 г.
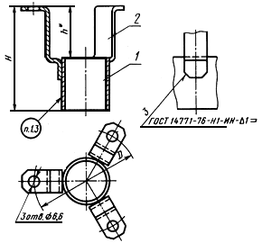
1. Конструкция и размеры оградительных кожухов должны соответствовать указанным на черт.1 и в табл.1.
Скачать документ нельзя - можно заказать Бесплатно! 1 документ
Документ будет отправлен на указанный Вами e-mail в течение 3 рабочих дней*
Часы работы: с Пн по Пт с 8:30 до 17:30 по московскому времени.
или
Посмотреть возможности крупнейшей электронной библиотеки "Техэксперт" - более 8 000 000 документов!



