0 продуктов

Авторизация

 

Вы нашли документ, содержащийся в электронной базе документов - "ТЕХЭКСПЕРТ"!

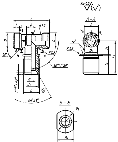
ГОСТ 16061-70 Тройники фланцевые для соединений трубопроводов по внутреннему конусу. Конструкция и размеры

Список продуктов
Данный раздел/документ содержится в продуктах:


     ГОСТ 16061-70

Группа Г18

     
ГОСУДАРСТВЕННЫЙ СТАНДАРТ СОЮЗА ССР


ТРОЙНИКИ ФЛАНЦЕВЫЕ ДЛЯ СОЕДИНЕНИЙ ТРУБОПРОВОДОВ  ПО ВНУТРЕННЕМУ КОНУСУ

Конструкция и размеры

Flange union tees for tube connections on internal cone. Construction and dimensions

     
Дата введения 1971-01-01


Постановлением Комитета стандартов, мер и измерительных приборов при Совете Министров СССР от 5 июня 1970 г. N 839 срок введения установлен с 01.01.71

ПЕРЕИЗДАНИЕ. Июнь 1987 г.



1. Конструкция и размеры фланцевых тройников должны соответствовать указанным на чертеже и в таблице.





Размеры, мм

Скачать документ нельзя - можно заказать Бесплатно! 1 документ 

Документ будет отправлен на указанный Вами e-mail в течение 3 рабочих дней* 

Часы работы: с Пн по Пт с 8:30 до 17:30 по московскому времени.

или

Посмотреть возможности крупнейшей электронной библиотеки "Техэксперт" - более 8 000 000 документов!

Форма заказа

Вы можете заказать БЕСПЛАТНУЮ демонстрацию систем "Техэксперт", заполнив следующую форму:

Наименование компании:*


Город, Область:*


ФИО, должность обратившегося:*


Контактный телефон:*

()

 В формате: (495) 679-84-86

E-mail:*


Поля, помеченные звездочкой (*), обязательны для заполнения


! После демонстрации Вы получите бесплатный доступ к базе данных «Информационный указатель стандартов» или к информационному каналу «Реформа технического регулирования», куда включены не только новые технические регламенты, но также их проекты - предстоящие изменения в области технического регулирования. Ни в одной другой базе данных этого нет!
Подписка на полную версию «Указателя стандартов» через ФГУП «Стандартинформ» стоит 20 000 рублей.
При заказе демонстрации Вы получите доступ к его электронной версии совершенно бесплатно!

Форма заказа

Наименование компании:*


Регион:


Город:*


ФИО, должность обратившегося:*


Контактный телефон:*

()

 В формате: (495) 679-84-86

E-mail:*


Название документа:


Поля, помеченные звездочкой (*), обязательны для заполнения

Если карточка заполнена некорректно или предоставлены заведомо неправильные сведения - документ бесплатно не предоставляется.

Код с картинки:



  


Категории продуктов

 

 

 

Знакомьтесь, "Техэксперт"

 Техэксперт для iPad

 Для Android

АКЦИЯ!

Бесплатный доступ