
Вы нашли документ, содержащийся в электронной базе документов - "ТЕХЭКСПЕРТ"!
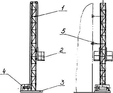
Подъемник мачтовый грузовой ТП-17
Данный раздел/документ содержится в продуктах:
ПОДЪЕМНИК МАЧТОВЫЙ ГРУЗОВОЙ ТП-17
Изготовитель - завод "Строймаш", г.Прилуки.
Предназначен для подъема штучных или сыпучих материалов на этажи зданий и сооружений.
Состоит из мачты 1, платформы 2, опоры 3, лебедки 4, настенных опор для закрепления мачты к стене здания 5.
Грузоподъемность, кг |
500 |
Высота подъема, м |
75 |
Скорость " , м/с |
Скачать документ нельзя - можно заказать Бесплатно! 1 документ
Документ будет отправлен на указанный Вами e-mail в течение 3 рабочих дней*
Часы работы: с Пн по Пт с 8:30 до 17:30 по московскому времени.
или
Посмотреть возможности крупнейшей электронной библиотеки "Техэксперт" - более 8 000 000 документов!



