
Вы нашли документ, содержащийся в электронной базе документов - "ТЕХЭКСПЕРТ"!
Подъемник монтажный автомобильный АГП-12, АГП-12А
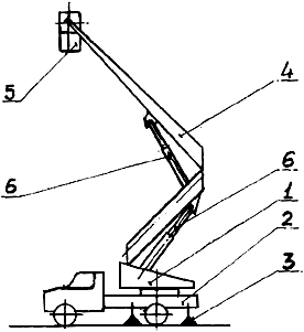
ПОДЪЕМНИК МОНТАЖНЫЙ АВТОМОБИЛЬНЫЙ АГП-12, АГП-12А
Изготовитель - Ленинградский РМЗ треста "Строймеханизация-1", С.-Петербург.
Предназначен для подъема рабочих при выполнении строительно-монтажных и ремонтных работ.
Состоит из поворотной платформы 1, установленной на шасси автомобиля 2, выносных опор 3, коленчатой стрелы 4, люльки 5, гидроцилиндров 6.
Грузоподъемность, кг |
200 |
Высота подъема, м |
12 |
Скачать документ нельзя - можно заказать Бесплатно! 1 документ
Документ будет отправлен на указанный Вами e-mail в течение 3 рабочих дней*
Часы работы: с Пн по Пт с 8:30 до 17:30 по московскому времени.
или
Посмотреть возможности крупнейшей электронной библиотеки "Техэксперт" - более 8 000 000 документов!



