
Вы нашли документ, содержащийся в электронной базе документов - "ТЕХЭКСПЕРТ"!
Кран КС-4372Б пневмоколесный
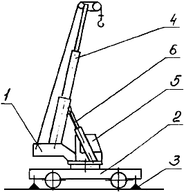
КРАН ПНЕВМОКОЛЕСНЫЙ КС-4372Б
Предназначен для подъема грузов при выполнении монтажных и строительных работ.
Состоит из поворотной платформы 1, установленной на специальном шасси 2, выносных опор 3, телескопической стрелы 4, кабины управления краном 5, механизма подъема стрелы 6.
Стрела, м |
7,5 |
16,5 |
Грузоподъемность, т, при вылете: |
|
|
наименьшем |
20 |
Скачать документ нельзя - можно заказать Бесплатно! 1 документ
Документ будет отправлен на указанный Вами e-mail в течение 3 рабочих дней*
Часы работы: с Пн по Пт с 8:30 до 17:30 по московскому времени.
или
Посмотреть возможности крупнейшей электронной библиотеки "Техэксперт" - более 8 000 000 документов!



