
Вы нашли документ, содержащийся в электронной базе документов - "ТЕХЭКСПЕРТ"!
Системы водяного отопления с естественной и искусственной циркуляцией теплоносителя
СИСТЕМЫ ВОДЯНОГО ОТОПЛЕНИЯ С ЕСТЕСТВЕННОЙ И ИСКУССТВЕННОЙ ЦИРКУЛЯЦИЕЙ ТЕПЛОНОСИТЕЛЯ
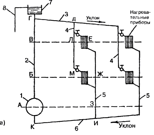
Принципиальная схема системы водяного отопления с естественной циркуляцией теплоносителя показана на рис.1.
Рис.1. Системы водяного отопления с естественной циркуляцией
а - с верхней разводкой; 1 - котел; 2 - главный стояк; 3 - разводящая линия; 4 - горячие стояки; 5 - обратные стояки; 6 - обратная линия; 7 - расширительный бак; 8 - сигнальная линия
Вода от котла к приборам теплообменника и обратно двигается под действием гидростатического напора, возникающего благодаря различной плотности охлажденной и нагретой жидкости (теплоносителя).
Какая же сила заставляет воду циркулировать в системе, т.е. двигаться по трубам из котла в нагревательные приборы и обратно в котел? Эта сила возникает при нагревании воды в котле и охлаждении ее в нагревательных приборах. Вода, нагретая в котле 1, как более легкая, поднимается по главному подающему стояку 2 вверх. Из стояка она поступает в разводящие магистральные трубопроводы 3, а из них через подающие стояки 4 - в нагревательные приборы. Здесь вода остывает и поэтому становится более тяжелой. Например плотность воды при 40 °С составляет 992,24 кг/м, при 70 °С - 977,8 кг/м
, при 95 °С - 961,9 кг/м
. Охлажденная вода через обратные стояки 5 и обратную линию 6 опускается вниз и своим весом вытесняет нагретую воду из котла вверх - в главный подающий стояк.
Скачать документ нельзя - можно заказать Бесплатно! 1 документ
Документ будет отправлен на указанный Вами e-mail в течение 3 рабочих дней*
Часы работы: с Пн по Пт с 8:30 до 17:30 по московскому времени.
или
Посмотреть возможности крупнейшей электронной библиотеки "Техэксперт" - более 8 000 000 документов!



