
Вы нашли документ, содержащийся в электронной базе документов - "ТЕХЭКСПЕРТ"!
Ремонт и усиление деревянных конструкций. Справочник строителя-технолога
РЕМОНТ И УСИЛЕНИЕ ДЕРЕВЯННЫХ КОНСТРУКЦИЙ
Бадьин Г.М., Заренков В.А. Справочник строителя-технолога
Способы ремонта и усиления деревянных конструкций показаны на рис.11.1-11.4.
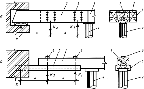
Рис.11.1. Способы ремонта балки с загнившим концом:
а - деревянным протезом; б - металлическим протезом; 1 - балка; 2 - дощатые накладки;
3 - гвозди; 4 - временная подпорка; 5 - швеллер; 6 - болты
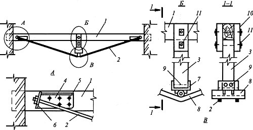
Рис.11.2. Ремонт опорного узла фермы стальным протезом:
1 - протез из швеллеров; 2 - диафрагма; 3 - болты; 4 - верхний пояс; 5 - нижний пояс;
6 - стяжной уголок; 7 - опорная стальная плита
Рис.11.3. Усиление балки путем превращения ее в шпренгельную:
1 - усиливаемая балка; 2 - подпружная цепь; 3 - стойка; 4 - уголки; 5 - расчетные болты;
6 - стальная пластина; 7 - обрезок швеллера; 8 - обрезок трубы; 9 - гвозди; 10 - накладки из досок;
11 - стяжные болты
Скачать документ нельзя - можно заказать Бесплатно! 1 документ
Документ будет отправлен на указанный Вами e-mail в течение 3 рабочих дней*
Часы работы: с Пн по Пт с 8:30 до 17:30 по московскому времени.
или
Посмотреть возможности крупнейшей электронной библиотеки "Техэксперт" - более 8 000 000 документов!



